一、森林火险监测站产品简介
吉彩网 TH-QC10森林火险监测站是一款高度集成、低功耗、可快速安装、便于野外监测使用的高精度气象观测设备。
吉彩网 该设备由气象传感器,采集器,太阳能供电系统,立杆支架,云平台五部分组成。免调试,可快速布置,广泛运用于气象、农业、林业、环保、海洋、机场、港口、科学考察、校园教育等领域。
二、森林火险监测站产品特点
吉彩网 1、低功耗采集器:静态功耗小于50uA
吉彩网 2、标配GPRS联网、支持扩展蓝牙、有线传输
3、7寸安卓触屏,版本:4.4.2、四核Cortex™-A7,512M/4G
4、支持modbus485传感器扩展
5、太阳能充电管理MPPT自动功率点跟踪
6、三米碳钢支架,两节法兰盘对接
吉彩网 7、短信报警,超限后向指定的手机上发送短信
8、ABS材质防护箱,耐腐蚀、抗氧化,防水等级IP66
三、森林火险监测站技术参数
吉彩网 1)采集器供电接口:GX-12-3P插头,输入电压5V,带RS232输出Json数据格式,采集器供电:DC5V±0.5V峰值电流1A,
吉彩网 2)传感器modbus、485接口:GX-12-4P插头,输出供电电压12V/1A,设备配置接口:GX-12-4P插头,输入电压5V
吉彩网 3)太阳能供电、配置铅酸电池,可选配30W 20AH/50W 40AH/100W 100AH.充电控制器:150W,MPPT自动功率点跟踪,效率提高20%
4)数据上传间隔:60s-65535s可调
吉彩网 5)7寸安卓触屏,屏幕尺寸:1024*600 RGB LCD
吉彩网 6)部分传感器参数
|
名 称 |
吉彩网 测量范围 |
分 辨 率 |
准 确 度 |
|
吉彩网 环境温度 |
吉彩网 -40~+60℃
|
吉彩网 0.1℃ |
±0.3℃ |
|
相对湿度 |
0~100%RH |
吉彩网 0.1% |
±2% |
|
光照强度 |
0-200000Lux |
1Lux |
吉彩网 ±2% |
|
吉彩网 大气压力 |
300~1100hPa
|
0.1hPa |
吉彩网 ±0.3hPa |
|
露点温度 |
吉彩网 -20~+50℃ |
吉彩网 0.1℃ |
±0.5℃ |
|
土壤温度 |
-50~+80℃ |
0.1℃ |
≤±0.2℃ |
|
吉彩网 土壤湿度 |
0~100% |
吉彩网 0.1% |
吉彩网 ±2% |
|
土壤盐分 |
0-20ms |
±0.1ms |
±2% |
|
土壤PH |
吉彩网 0-14 |
0.1 |
±0.2% |
|
吉彩网 风 向 |
0~360°(16方向) |
吉彩网 1/16 |
<3°(>1.0m/s) |
|
吉彩网 风 速 |
0~70m/s |
0.1m/s |
±(0.3+0.03V)m/s |
|
雨 量 |
吉彩网 ≦4mm/min |
0.01mm |
吉彩网 ±0.2mm |
|
吉彩网 紫外辐射 |
吉彩网 0~70W/㎡ |
吉彩网 1W/㎡ |
吉彩网 ±2% W/㎡ |
|
吉彩网 日照时数 |
0~24h |
吉彩网 0.1 h |
±2%h |
|
吉彩网 总辐射 |
吉彩网 0-2000W/m2 |
0.1W/m2 |
吉彩网 光谱范围:300-3000nm |
|
光合有效辐射 |
400~700nm |
灵 敏 度:10~50μv/μmol·m-2·s-1 |
|
7)生产企业具有ISO9001质量管理体系认证和计算机软件注册证书
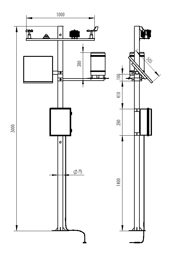
四、森林火险监测站产品尺寸图

五、森林火险监测站产品结构图
六、森林火险监测站上位机软件介绍
吉彩网 1、PC单机版数据接收、存储、查看、分析软件
2、支持串口数据接收、处理、展示
3、支持json字符串、modbus485等通信方式
4、可自设置存储时间,modbus485采集模式下可自设置采集时间
5、支持自助增加、删除、修改监测参数的协议、名称、图标等
6、支持数据后处理功能
吉彩网 7、支持外置运行javascript脚本
七、森林火险监测站安卓APP介绍
吉彩网 1、安卓单机版数据接收、存储、查看、分析软件
2、支持蓝牙数据接收
吉彩网 3、手机休眠后软件后台接收、处理
4、json数据自动添加设备,modbus设备支持扫码添加设备
吉彩网 5、支持历史数据查看、分析、导出表格,支持曲线展示、单数据点查看。
吉彩网 6、支持数据后处理功能
7、支持外置运行javascript脚本
八、森林火险监测站云平台介绍
1、CS架构软件平台,支持手机、PC浏览器直接观测、无需额外安装软件。
2、支持多帐号、多设备登录
3、支持实时数据展示与历史数据展示仪表板
4、云服务器、云数据存储,稳定可靠,易于扩展,负载均衡。
吉彩网 5、支持短信报警及阈值设置
吉彩网 6、支持地图显示、查看设备信息。
吉彩网 7、支持数据曲线分析
8、支持数据导出表格形式
吉彩网 9、支持数据转发,HJ-212协议,TCP转发,http协议等。
吉彩网 10、支持数据后处理功能
吉彩网 11、支持外置运行javascript脚本



